日前,豫北區域經銷商向水泥人網反應稱,此前曝光過的包括標稱為“鶴壁中聯”在內的多個質量不合格水泥仍在銷售。經當地專項督查后,有些企業已經被責令停產。但是仍有部分企業還在生產,據說是當地專項督查組調查后“沒有發現不合格”。
鶴壁中聯被曝不合格后“照樣運轉”
某經銷商反饋稱,“這個廠子不是建材集團的水泥,生產好幾個牌子,如鶴壁同力、眾力山水,還有淇水中聯……他們環保很差,多是晚上裝車,裝車的地方灰塵很多。去年拉的這家水泥‘起砂’,后來就再沒拉過了”。

據水泥人網了解,單純的“起砂”并不能判定為水泥不合格。“起砂”多數是施工養護原因,如混凝土配比不合理,導致混凝土強度低。也可能因養護不好或沒養護,表面失水,使表層速干;或者水多了,表面泌水,水干后也會“起砂”。表面收光時間掌握不好都有可能導致“起砂”。若同樣的配比,同樣的施工養護,其他水泥沒有起砂。那就可以考慮是水泥強度低導致混凝土強度低。
“眾力山水、鶴壁中聯”兩批次水泥“氯離子”不符合標準要求
水泥質量萬里行組委會相關工作人員介紹稱,組委會在豫北區域的抽樣,時常令大家感覺驚訝,一些分包站和小作坊無所不能。
據水泥質量萬里行組委會反饋,在抽檢的不合格水泥中,包括標稱生產單位為鶴壁市中聯水泥有限公司(以下簡稱“鶴壁市中聯水泥”該企業非中國建材集團旗下企業)旗下的“眾力山水”和標稱為“鶴壁中聯”牌的兩個批次P.S.A32.5礦渣硅酸鹽水泥樣品委托檢驗報告檢驗結論均為“氯離子技術指標不符合GB175-2007標準要求,綜合判定為該樣品不合格”。




據了解,《通用硅酸鹽水泥》GB175-2007標準要求,氯離子含量小于等于0.06%。而上述報告顯示,標稱為“鶴壁中聯”牌的P.S.A32.5水泥氯離子含量檢驗結果為0.32%,超過標準要求的4.3倍;標稱為“眾山同力”牌的P.S.A32.5水泥氯離子含量檢驗結果為0.46%,超過標準要求的3.67倍。
多品牌集中,企業喊冤,劣質水泥不是自己的產品
據查詢,質量萬里行組委會上述抽樣標稱生產企業“鶴壁市中聯水泥有限公司”曾用名:鶴壁市同興水泥有限公司,法定代表人雷玉鋒。企業成立于2010年,位于河南省鶴壁市,是一家以從事非金屬礦物制品業為主的企業。
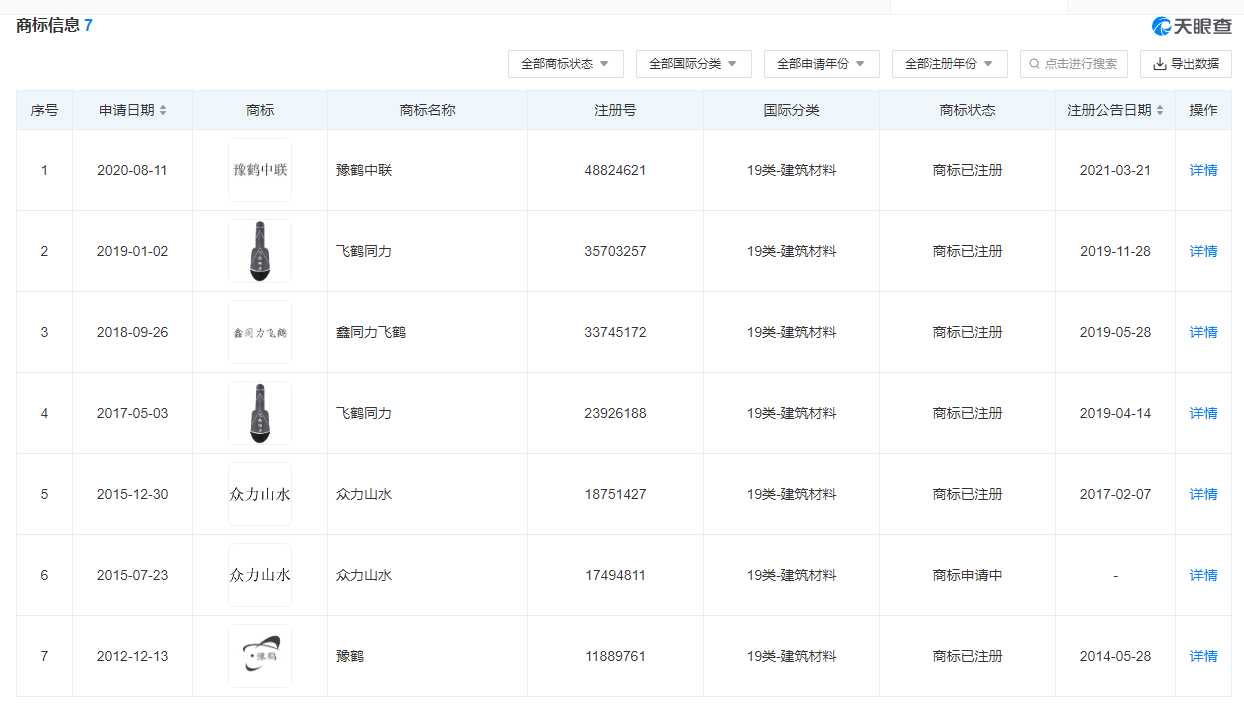
企業共有7條商標信息,豫鶴中聯、飛鶴同力、鑫同力飛鶴、眾力山水、豫鶴等6個商標分別在2014年5月28日到2021年3月21日期間注冊完成。

企業生產許可證編號XK08-001-05731,生產地址位于河南省鶴壁市??h小河鎮赫村村西。生產許可證有效期至2023年12月28日。企業類似為粉磨站,擁有1條粉磨生產線;關鍵設備Φ3.2×13m水泥磨機1臺。
經查詢,經銷商反饋的“淇水中聯”屬鶴壁同創水泥有限公司旗下品牌。而“鶴壁同力”未查詢相關注冊信息。
水泥人網注意到,鶴壁同創水泥有限公司旗下竟有17條商標信息,其中“淇河中聯、同鑄中聯、新河中聯、金豫山水、中鶴同力、同鑄同力”等9個商標已注冊。
企業生產許可證編號(豫)XK08-001-00084,有效期至2027年11月19日。生產類型為粉磨站,擁有1條粉磨生產線;關鍵設備為Φ3.2×13m水泥磨機1臺。
綜上,不屬于中國建材集團旗下中國聯合水泥有限公司的粉磨站“鶴壁市中聯水泥”旗下兩個批次SPA.32.5水泥被曝光氯離子不合格,企業表示自己被“假冒”了。
截至編輯發稿時止,未有公司表示對上述兩個批次不合格水泥負責,這個黑鍋究竟該由誰來背?經銷商還是消費者?耐人尋味……


